
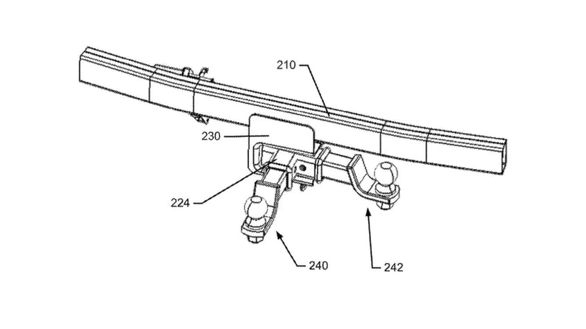
A patent application has been filed by Ford for a tow hitch that moves out of the way when not in use. It swivels through 90 degrees up against the vehicle’s rear bumper. It’s otherwise a standard hitch with a ball so can be used for various accessories, such as bike racks.
When not in use, the hitch retracts so is no longer an obstacle to people’s legs when they’re walking around the back of the vehicle. Nor will it scrape on the ground if the vehicle is driven up a steep incline, according to Ford.

It also eliminates the need to remove the tow ball/hitch when it’s not in use. So it also makes it more convenient to use for those who tow frequently.
The receiver that holds the ball would be attached to the vehicle’s frame using a pin. Remove that and it allows the receiver to rotate, with a lever arm that locks the receiver into place when it’s stowed or deployed.
It doesn’t have to be a manual operation either. The assembly could be operated by an electric motor mounted behind the rear bumper. That would then turn a screw that causes the hitch assembly to pivot back towards the bumper. This could all be done from inside the vehicle.
Whether the concept makes it to production is unclear but given the importance of pick-up trucks and SUVs to Ford, this one may have a better chance than most of becoming a reality.
Toyota has also tried to patent retractable and moveable tow hooks. The automaker is more focused on safety with this concept. Protruding rigid-mounted tow hooks can transmit significant impact forces to other parts of a vehicle during a crash.